r

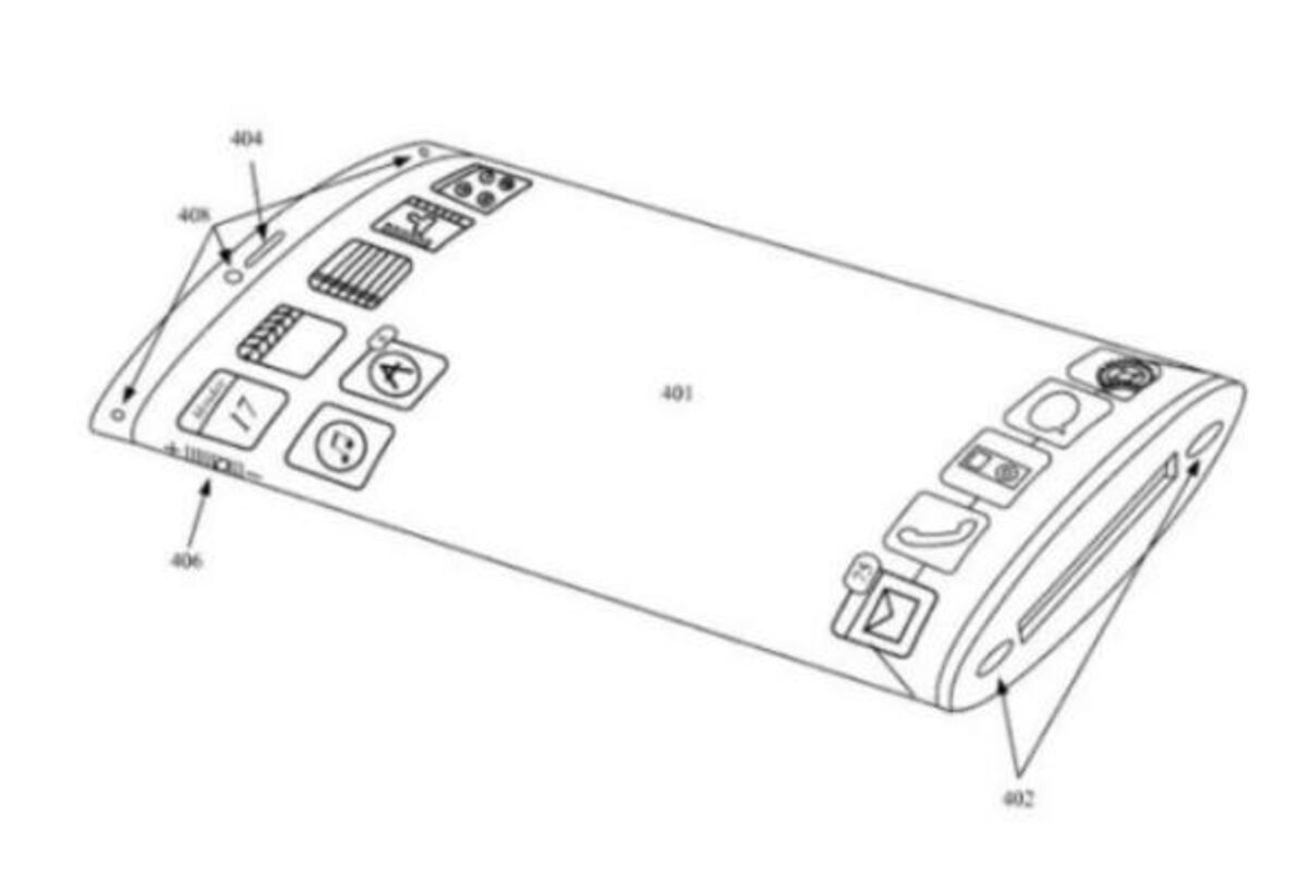
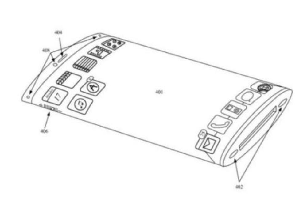
Apple patentira zaobljeni ekran

Ovakav dizajn znači da telefon nema okvir, što znači da bi ekran mogao zapravo da zauzima veću površinu smartfona
54 pregleda 5 komentar(a)
Apple, zaobljeni ekran, Foto: Apple
Apple, zaobljeni ekran, Foto: Apple
Ažurirano: 30.03.2013. 14:10h

Umjesto ravnog, ekran kakav bi Apple da patentira, je zaobljen ka ivicama telefona, a nema ni jednog fizičkog dugmića.

Kao i druge kompanije, Apple često traži patent na dizajn koji nikad neće biti primijenjen

Prijava za patent otkriva da je firma počela da planira uređaj sa novom generacijom displeja koji ne moraju biti ravni kao današnji.

Zanimljivo je da je u januaru na Sajmu trgovine glavni konkurent Apple-u, Samsung, predstavio prototip telefona sa sličnim ekranom i isključivo “virtuelnim” dugmićima.

Ovakav dizajn znači da telefon nema okvir, što znači da bi ekran mogao zapravo da zauzima veću površinu smartfona.

Apple je zahtjev za patent podneo u septembru 2011. ali je prijava postala javna tek proteklog četvrtka.

Kao i druge kompanije, Apple često traži patent na dizajn koji nikad neće biti primijenjen, ali isto tako ne znači da se neće naći na nekom od budućih uređaja.

Bonus video: